Volkswagen Golf Service & Repair Manual: Special connector systems
Note
| If necessary, any housing catches in place (secondary
locking mechanisms) must be released or removed prior to
disengaging the contacts using the prescribed tool
→ Chapter. |
|
|
|
| – |
Insert the release tool appropriate for the contact housing
in the release port of the contact housing. |
| – |
Grab hold of the contact by the wire and push it lightly
into the contact housing. |
Note
| By pushing the contact in the direction of the contact
housing, the locking tabs of the contact are lifted up by the
housing edge and disengaged using the release tool. |
|
|
|
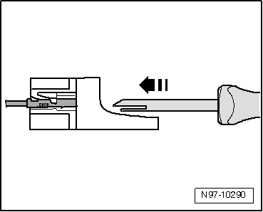
| – |
At the same time, push the release tool in the direction of
the contact housing and pull out the released contact from the
contact housing -arrow-. |
| – |
The release tool can be pulled out of the contact housing
again once the contact has been removed. |
|
|
|
| – |
Insert the release tool appropriate for the contact housing
under the locking tab into the contact housing. |
| – |
Push the tool onto the limit stop
-arrow- in the contact housing. |
|
|
|
| The contact is ejected from the contact housing. |
| – |
The release tool can be pulled out of the contact housing
again once the contact has been ejected. |
|
|
|
| Contacts without locking tabs: |
| – |
Insert the release tool under the locking tab of the contact
housing. |
| – |
Push through the release tool with a light upward movement
-arrow- onto the limit stop. |
|
|
|
| The contact is ejected from the contact housing. |
|
|
|
Note
If necessary, any housing catches in place (secondary
locking mechanisms) must be released or removed prior to
disengaging the contacts using the ...
Using contact surface cleaning set -VAS 6410-
The contact surface cleaning set -VAS 6410- allows optimal
repair quality to be achieved in the area of vehicle electrics.
...
Other materials:
Removing and installing control motor sender for VARILIS headlight
-G695-/-G696-
Note
Control motor sender for left VARILIS headlight -G695- and
control motor sender for right VARILIS headlight -G696- are only
fitted on gas discharge headlights.
The control motor sender for VARILIS headlight is l ...
Indicator lamps
First read and observe the introductory information
and safety warnings
Lit up
Possible cause
Solution
The vehicle is being held by the electronic parking
brake.
Switch off the Auto Hold function if necessary .
...
Introduction
This chapter contains information on the following subjects:
→ Warning lamp
→ Preparing the vehicle for working in the engine compartment
→ Opening and closing the bonnet
Always park the vehicle on a level and stable surface before carrying out any
work in ...
© 2016-2025 Copyright www.vwgolf.org
