Volkswagen Golf Service & Repair Manual: Flat connector systems
Note
| If necessary, any housing catches in place (secondary
locking mechanisms) must be released or removed prior to
disengaging the contacts using the prescribed tool
→ Chapter. |
|
|
|
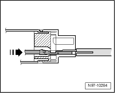
| Flat connector with one locking tab: |
| – |
Insert the release tool appropriate for the contact housing
in the release port of the contact housing. |
| – |
Grab hold of the contact by the wire and push it lightly
into the contact housing -arrow-. |
Note
| By pushing the contact in the direction of the contact
housing, the locking tab of the contact is lifted up by the
housing edge and can be disengaged using the release tool. |
|
|
|
| – |
At the same time, push the release tool in the direction of
the contact housing and pull out the released contact from the
contact housing -arrow-. |
| – |
The release tool can be pulled out of the contact housing
again once the contact has been removed. |
|
|
|
| Flat connector with two locking tabs: |
| – |
Insert the release tool appropriate for the contact housing
in the release port of the contact housing. |
| – |
Grab hold of the contact by the wire and push it fully into
the contact housing -arrow-. |
Note
| By pushing the contact in the direction of the contact
housing, the locking tabs of the contact are lifted up by the
housing edge and disengaged using the release tool. |
|
|
|
| – |
At the same time, push the release tool in the direction of
the contact housing and pull out the released contact from the
contact housing -arrow-. |
| – |
The release tool can be pulled out of the contact housing
again once the contact has been removed. |
|
|
|
| – |
Insert the release tool appropriate for the contact housing
in the release port of the contact housing. |
| – |
Grab hold of the contact by the wire and push it lightly
into the contact housing -arrow-. |
Note
| By pushing the contact in the direction of the contact
housing, the locking tabs of the contact are lifted up by the
housing edge and disengaged using the release tool. |
|
|
|
| – |
At the same time, push the release tool in the direction of
the contact housing and pull out the released contact from the
contact housing -arrow-. |
| – |
The release tool can be pulled out of the contact housing
again once the contact has been removed. |
|
|
|
Note
If necessary, any housing catches in place (secondary
locking mechanisms) must be released or removed prior to
disengaging the contacts using the ...
Note
If necessary, any housing catches in place (secondary
locking mechanisms) must be released or removed prior to
disengaging the contacts using the ...
Other materials:
Removing and installing fresh air blower - V2-, RHD vehicles
Note
If only the fresh air blower -V2- is defective, remove and
install fresh air blower control unit -J126-
→ Chapter.
Removing
–
Remove baffle plate
→ Chapter.
...
Introduction
This chapter contains information on the following subjects:
→ Jump lead connection point (earth connection)
→ How to start the engine using jump leads
If the engine fails to start because the vehicle battery is flat, the flat battery
can be connected to the battery of another ...
Overview of fitting locations - operating and display unit, Climatronic
Note
A warning lamp in the instrument panel controls will
indicate that the selected function is active. In addition, the
display of the radio or of the radio navigation system will
indicate the selected function for a short time when a bu ...
© 2016-2025 Copyright www.vwgolf.org
