Volkswagen Golf Service & Repair Manual: Repairing shock absorber
| Removing and installing
→ Chapter |
| Defective shock absorbers must always be degassed and drained before
disposal
→ Chapter |
| Checking shock absorber following removal
→ Chapter |
| 4 - |
Shock absorber mounting |
| Loosening and tightening
→ Fig. |
| Special tools and workshop equipment
required |
|
|
|
| Torque wrench -V.A.G 1331- |
|
|
|
| Shock absorber set -T10001- |
| Ring spanner insert (commercial type, e.g.
»Hazet 6630c-21«) |
|
|
|
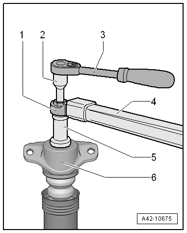
| Loosening and tightening threaded connection for shock
absorber mounting |
| 1 - |
Ring spanner insert (commercial type, e.g.
»Hazet 6630c-21«) |
| 3 - |
Commercially available ratchet handle |
| 4 - |
Torque wrench -V.A.G 1331- |
| 6 - |
Shock absorber mounting |
| Install in reverse order of removal, observing the
following: |
|
|
|
| – |
Slide protective tube -1- onto
shock absorber mounting -2-. |
| – |
Fit cable tie -3- and tighten. |
Note
| The fastener -arrow- of the
cable tie -3- must be located
within area -a-. |
| → Chapter „Repairing
shock absorber“ |
|
|
|
Special tools and workshop equipment required
Torque wrench -V.A.G 1332-
Torque wrench -V.A.G 1410-
Spring compressor -V.A.G 1752/1 ...
Special tools and workshop equipment
required
Spring compressor -V.A.G 1752/1-
&nb ...
Other materials:
Trailer detector control unit -J345-
General description:
The trailer detector control unit -J345- detects a power
consumption of at least 5 W
→ Remark when “towing a trailer” and passes this information
to various control units via the CAN data bus.
...
Warning lamp
First read and observe the introductory information
and safety warnings
Display
Possible cause
Solution
Bonnet not closed properly
Do not drive
on!
Close bonnet.
Several warning and indicator lamps will light up ...
Charge factor
There must be space both for liquid and vapour in a
container. As the temperature rises, the liquid expands. The
space occupied by the vapour becomes smaller. Eventually, there
will only be liquid in the container. After that time, even a
small increase ...
© 2016-2025 Copyright www.vwgolf.org
