Volkswagen Golf Service & Repair Manual: Removing and installing oil spray jets
| Special tools and workshop equipment
required |
| – |
Remove noise insulation
→ General body repairs, exterior; Rep. gr.66. |
| – |
Remove sump upper part
→ Chapter. |
Note
| The crank web of the respective cylinder must be positioned
so that the socket -T10545- can be inserted in the pressure
relief valve as close to vertical as possible. |
| Furthermore, the corners of the socket -T10545- and of the
pressure relief valve must engage well. |
| – |
Turn crankshaft via vibration damper securing bolt in
direction of engine rotation until the respective bolt is
accessible. |
|
|
|
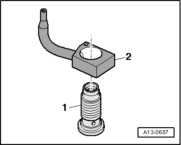
| – |
Unscrew pressure relief valve -1-
using socket -T10545-. |
| – |
Remove oil spray jets -2-. |
Risk of damage to oil spray jets caused by deformation.Do not bend oil
spray jets. |
|
|
| 1 - |
Pressure relief valve - 27 Nm |
| Installation position: align leading edge of oil spray jet
arrow with machined surface of cylinder block. |
| – |
Remove upper part of sump
→ Chapter. |
| – |
Install noise insulation
→ General body repairs, exterior; Rep. gr.66. |
|
|
|
Special tools and workshop equipment
required
Drift -VW 222 A-
Piston ring ...
Checking piston
–
Using a micrometre, measure approx. 10 mm from the lower
edge, perpendicular to the piston pin axis.
...
Other materials:
Removing and installing actuator
Removing
–
Removing tank flap unit
→ Chapter
–
To get access to connector, remove right luggage compartment side
trim
→ General body repairs, interior; Rep. gr.70
–
Separate ...
Identification markings on the tyre sidewall, standard tyres
Example: Continental ContiPremiumContact 2
1 -
Size code
e.g. 205/55 R 16
→ Anchor
2 -
Position of TWIs (Tread Wear Indicators)
3 -
Manufacturer (trade name)
...
Waxing and polishing the vehicle
First read and observe the introductory information
and safety warnings Waxing
Waxing protects the paintwork. You will need to re-wax the vehicle with a good
hard wax if water no longer clearly forms small drops
and runs off the paintwork when it is clean.
Even if a wax solution is used re ...
© 2016-2026 Copyright www.vwgolf.org
