VW Golf manuals

Volkswagen Golf Service & Repair Manual: Valve dimensions

  Note
   
Inlet and exhaust valves must not be reworked. Only lapping-in is permitted.
 

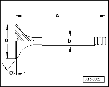
Valve dimensions

Dimension Inlet valve Exhaust valve
Diameter a mm 28.5 25.0
Diameter b mm 4.973 4.963
c mm 110.25 110.09
α ∠° 45 30
Checking valve guides
Special tools and workshop equipment required     Universal dial gauge bracket -VW 387- &nb ...

Engine lubrication
...

Other materials:

Assembly overview - door
  Note Only the left side is shown. The right side is similar After renewal of A-pillar, the specified torque for bolts -2 and 5- as well as for -14 and 17- changes 1 -  Front door Removing and installing → Chapter Adjusting ...

Assembly overview - poly V-belt drive, vehicles with air conditioner compressor
1 -  Poly V-belt Check for wear Before removing, mark direction of rotation with chalk or felt-tipped pen. Do not kink The length of the poly V-belt must be determined according to the → E ...

Information on the brakes
First read and observe the introductory information and safety warnings New brake pads cannot generate the full braking effect during the first 200 to 300 km and must first be run in  . However, you can compensate for the slightly reduced braking force by applying more pressure to the br ...

© 2016-2025 Copyright www.vwgolf.org