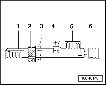
Volkswagen Golf Service & Repair Manual: Refrigerant circuit with expansion valve and evaporator
| 3 - |
Valve for extracting, charging and measuring |
| 4 - |
Receiver with dessicant bag or cartridge |
| 6 - |
Air conditioner compressor |
Note
| Arrows show the direction of refrigerant flow. |
|
|
|
1 -
Air conditioner compressor
2 -
Condenser
3 -
Restrictor
4 ...
Other materials:
Introduction
This chapter contains information on the following subjects:
→ Operating ParkPilot
→ Acoustic and optical ParkPilot signals
→ ParkPilot menu
→ Vehicle path display
→ Towing a trailer
The ParkPilot assists the driver when manoeuvrin ...
Removing and installing digital sound package control unit -J525
Special tools and workshop equipment
required
Protective cap for wiring harness connector -VAS 6223/9-
If the control unit is replaced, select the
Replace function of the resp ...
Distinguishing features of jointless wiper blades
Distinguishing features of Bosch and Federal Mogul products.
When renewing wiper rubbers, note the make. When renewing
wiper blades, the same make must be used.
Wiper blades can be identified according to wiper arm
...
© 2016-2025 Copyright www.vwgolf.org
