VW Golf manuals

Volkswagen Golf Service & Repair Manual: Headlight washer system

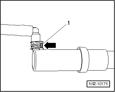
–  To loosen the connection, push the lock ring -1--arrow- and pull off the hose connection.
–  To secure the connection, push and hold the lock ring -arrow- and push on the hose connection. Check that the securing clip has correctly engaged by depressing and trying to pull off without the clip.
 

Headlight washer system

Windscreen and rear window washer system
  Pull the two coupling sections apart (no securing device) to loosen the connection. –  To secure the connection, push the t ...

Hose repair
A new repair concept has been developed for repair work on wash system hoses. Various connectors, special EPDM hoses (ethylene-propylene terpolymer) and heat-shrink h ...

Other materials:

Paintwork system for plastic components
Issue 03.2010 This universal system allows simple and reliable painting of all external plastic components in standard applications. (Synthetic types: PP, EPDM, ABS, PC, PPO, PBTP, UP-GF, PA, PVC, R-TPU, PUR). This technical data sheet i ...

Assembly overview - rear vehicle level senders, multi-link suspension, front-wheel drive
  Note The vehicle level sender is available as a replacement part only complete with coupling rod and upper and lower retaining plates. 1 -  Bolt 5 Nm 2 -  Rear vehicle level senders Comp ...

Safety markings on battery
Safety markings on battery 1. -  Fires, sparks, naked flames and smoking are prohibited when handling batteries. Avoid sparks as well as electrostatic discharge when working with cables and electrical units. Avoid short ci ...

© 2016-2025 Copyright www.vwgolf.org