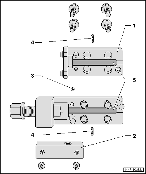
Volkswagen Golf Service & Repair Manual: Assembly overview - flanging tool
| 1 - |
Flanging tool upper part |
| Unbolt to change flanging jaws |
| Must be unscrewed to access securing bolt for upper part. |
| For flanging tool upper part |
| 4 - |
Grub screws for flanging jaws |
| For centring and holding flanging jaws |
| Hexagon socket head bolt, 2 mm |
| Assembly instructions
→ Fig. |
| Flanging jaw assembly instructions: |
| VAS 6056/6 (dark) for black brake lines |
| VAS 6056/7 (light) for green brake lines |
Note
| The arrow on the rounded side of the flanging jaws must
point to the edge of the housing, and the straight side of the
flanging jaws must be installed towards the spindle, or the
flange will not be formed correctly. |
|
|
|
Repairing brake lines
The flanging tool for brake lines -VAS 6056- can be used to
flange brake lines with an outer pipe diameter of 5 mm without ...
Unbolt relevant brake line at brake caliper or wheel brake
cylinder; catch escaping brake fluid and dispose of this as per
regulations.
&nb ...
Other materials:
Spray wax (spraying wax) -D 322 100 M2
Designation:
Spray wax (spraying wax) -D 322 100 M2-
Issued 01.2011
Product description
Spray wax (spraying wax) -D 322 100 M2- is a long-term
anti-corrosion agent. The produ ...
Additional information
Technical Service Handbook with measures for rectifying
latest malfunctions.
Workshop manual for service work specific to model
→ Heating, air conditioning; Rep. gr.87.
→ Current
...
City emergency brake function
Fig. 175 The display in the instrument
cluster: advance warning display
First read and observe the introductory information
and safety warnings The city emergency brake function is part of the area
monitoring system (Front Assist) and is active when Front Assist is switched on.
Dependin ...
© 2016-2025 Copyright www.vwgolf.org
