Volkswagen Golf Service & Repair Manual: Refrigerant circuit with expansion valve
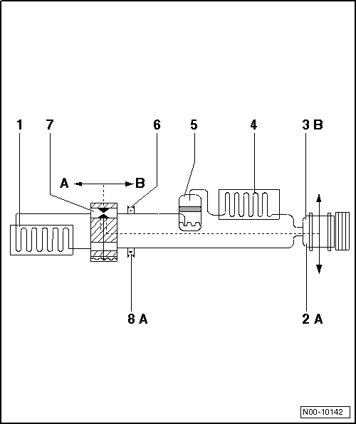
| A- low-pressure side of the refrigerant circuit. |
| B- high-pressure side of the refrigerant circuit. |

|
Component |
Overall
state of the refrigerant |
Pressure (in bar) |
Temperature
in degrees Celsius |
| -1-
evaporator, from inlet to outlet |
Vapour |
approx. 1.2 bar
→ Remark |
approx. -7°C
→ Remark |
| |
|
(approx. 1.8 bar)
→ Remark |
approx. -1°C
→ Remark |
| -2-
Air conditioning system compressor A-side |
Gas |
approx. 1.2 bar
→ Remark |
approx. -1°C |
| |
|
(approx. 1.8 bar)
→ Remark |
(approx. +1°C)
→ Remark |
| -3-
Air conditioning system compressor B-side |
Gas |
approx. 14 bar |
approx. +65°C |
| -4-
Condenser |
Gas, vapour, liquid |
approx. 14 bar |
at outlet approx. + 55°C |
| -5-
Receiver |
Liquid |
approx. 14 bar |
approx. +55°C |
| -6-
Extraction and charging valve, B side |
Liquid |
approx. 14 bar |
approx. +55°C |
| -7-Expansion
valve |
Liquid, released into
vapour |
approx. 14 bar |
approx. +55°C, reduced to -7°C |
| -8-
Extraction and charging valve, A side |
Gas |
approx. 1.2 bar
→ Remark |
approx. -7°C
→ Remark |
| |
|
(approx. 1.8 bar)
→ Remark |
approx. -1°C
→ Remark |
| 1) |
The pressure in refrigerant circuits with regulating air
conditioner compressor is held to approx. 2 bar despite changing heat
transport and differing engine speeds. This applies however only within
the rated range of the air conditioner compressor; if the rated range of
the air conditioner compressor is exceeded, the pressure will increase
→ Chapter. |
| 2) |
The temperature in refrigerant circuits with regulating
air conditioner compressor is held within the regulation range of the
air conditioner compressor despite changing heat transport and differing
engine speeds. This applies however only within the rated range of the
air conditioner compressor; if the rated range of the air conditioner
compressor is exceeded, the temperature will increase.
→ Chapter |
| 3) |
Measured values for air conditioning systems with two
evaporators |
Note
| Air conditioning system compressors that do not
self-regulate their load are switched off by the respective
control unit via the air conditioner compressor regulating valve
-N280- when an evaporator temperature less than 0°C is sensed. |
| In vehicles with air conditioner compressor regulating valve
-N280-, the pressure on the low-pressure side is varied by
activating the valve. |
|
|
|
WARNING
When working on the refrigerant circuit, observe
generally applicable safety rules and the Regulations
for ...
Arrows show the direction of refrigerant flow.
A- low-pressure side of the refrigerant circuit.
B- high-pressure side of the refrigerant circuit.
...
Other materials:
Overview of fitting locations - operating and display unit, Climatronic
Note
A warning lamp in the instrument panel controls will
indicate that the selected function is active. In addition, the
display of the radio or of the radio navigation system will
indicate the selected function for a short time when a bu ...
Removing and installing seat trim on sill side, standard seat
Note
Removal and installation are described for the left vehicle
side. Follow same instructions for the right side as
appropriate.
Special tools and workshop equipment
required
...
Release tool set -VAS 1978/35
Release tool set -VAS 1978/35- serves as a means of
releasing various primary and secondary locking devices in Group
vehicles. The set comprises 26 different tools which can be use
to fit or release for example round connector systems, flat
contacts with ...
© 2016-2026 Copyright www.vwgolf.org
