Volkswagen Golf Service & Repair Manual: One-sided wear
| This is often caused by driving style, but can be the result
of incorrect wheel alignment. |
|
|
|
| One-sided wear, usually in conjunction with signs of
scuffing on the ribs of the tread and in the fine grooves,
always occurs when the tyres have been allowed to roll with an
extreme tyre slip angle, causing them to
»rub« on the road surface. |
| Driving fast on a stretch of road with lots of curves will
cause increased wear, in particular on the outer shoulder. |
| A rounded outer shoulder on the tyre in conjunction with a
particularly high degree of wear on the outer tread blocks
indicates fast cornering. This wear pattern is influenced by
driving style. |
| To optimise handling, the suspension is set to specified
toe-in and camber values. Increased one-sided wear can be
expected if tyres are allowed to roll under conditions which
differ from those specified. |
| One-sided wear is especially likely if the toe and camber
have not been set correctly. Moreover, there is a greater risk
of diagonal washout. |
|
|
|
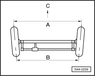
| Toe-out or negative toe-in |
| Distance between front of wheels -A-
is greater than distance between rear of wheels
-B- (-C-
= direction of travel). |
|
|
|
| Distance between front of wheels -A-
is less than distance between rear of wheels
-B- (-C-
= direction of travel). |
| To prevent one-sided wear, care must be taken to ensure that
the wheel is set within the tolerance specified by the vehicle
manufacturer. The most frequent deviation of the wheel alignment
is caused by external influences, for example hard contact with
the kerbstone when parking. |
| By measuring the axle geometry, you can check whether the
wheel alignment is within the specified tolerances or whether it
has to be corrected. |
| Running gear modifications |
| Using “suspension-lowering kits” and/or alloy wheels that
have not been recommended by the vehicle manufacturer may result
in altered wheel positions which deviate from the specified
alignment. |
| Even if the axle geometry is correct with the vehicle
stationary during wheel alignment, the changed vehicle height
and wheel positions can cause the wheel suspension to move
differently during operation. |
| Uneven wear is then unavoidable. |
| Unsuitable use of self-levelling
adjustments on pneumatic suspension system |
| The use of the offroad level is recommended only for driving
offroad. Permanent use of the offroad level during normal road
operation can lead to increased tyre wear as the height of the
wheel position is different to the road level. |
| The way to prevent one-sided tyre wear is to ensure the
wheel alignment is correct on one hand and on the other hand to
make sure the vehicle is used only for its intended purpose: |
| Regular servicing of the vehicle and tyres helps to prevent
tyre wear. The following should be noted in particular with
regards to this: |
| The prescribed minimum tyre inflation pressures must be
adhered to. |
| Different wear on the front and rear axle depending on the
driving style is unavoidable. This condition can be compensated
for by rotating the wheels from front to rear. The ideal
opportunity to do this, for example, is during the seasonal
change between winter and summer tyres. This change also has a
positive side effect in that the tyres can wear down equally,
meaning that a completely new set of tyres can be fitted. This
prevents differences between the tread depths of the tyres on
each axle, which can have negative effects on road holding. |
| Saw tooth formation is a normal wear pattern, particularly
if the driving style is very careful
→ Chapter. This can lead to increased rolling noise,
which generally becomes less as the tread depth decreases. In
the event of light saw tooth formation or if saw tooth formation
is just starting, exchanging the wheels between axles is
normally sufficient. If saw tooth formation is very pronounced,
the wheels have to be changed in accordance with
→ Chapter so their direction of rotation is reversed.
This does not apply for tyres with a directional tread pattern. |
| Some tread patterns may create an impression of premature
wear: if winter tyre sipes or channels in the tread are worn
down, only compact profile blocks without patterns remain, thus
giving the impression of a worn tyre. In this case, the
remaining tread depth must be measured in each groove. If this
is at or below the minimum tread depth, the tyre can continue to
be used without restrictions. (In Germany, the minimum is 1.6
mm; it is recommended, and in Austria, required, that winter
tyres that are worn down to 4 mm be used only in summer ) |
|
|
|
Note
The tread depth is measured in the main tread channels.
Do not measure at the TWIs (Tread Wear Indicators).
...
Unsuitable use of self-levelling adjustments on pneumatic
suspension system
The use of the offroad level is recommended only for driving
offroa ...
Other materials:
Golf R - from model year 2014, sales type 5G1
Note
The specified wheel and tyre combinations apply for all the
gearboxes allocated to the respective engines.
Deviations from this are specially indicated in the table.
The Golf R will be listed according to the sales types and not by
the ...
Coolant specification
First read and observe the introductory information
and safety warnings The cooling system is filled at the factory with a mixture
of specially prepared water and at least 40% coolant additive G 13
(TL-VW 774 J). The coolant additive is dyed purple. This mixture of water and coolant
additi ...
Driving notes on towing
First read and observe the introductory information
and safety warningsTowing requires some experience, especially when using
a tow rope. Both drivers should be familiar with the technique required for towing.
Inexperienced drivers should not attempt to tow.
When driving, ensure that you do ...
© 2016-2026 Copyright www.vwgolf.org
