Volkswagen Golf Service & Repair Manual: Adapters for setting up purging circuits
| The following table contains the various adapters that are
necessary to connect the air conditioner service station to the
refrigerant circuit for purposes of purging and to bridge the
removed reservoir or collector and expansion valve
(vehicle-specific). |
| Using a filling hose with 5/8 -18 UNF connections (short
version, e.g. charging hose -VAS 6338/31-), join both adapters,
which were installed in place of the reservoir or receiver
(included in adapter case VW/Audi passenger vehicle set -VAS
6338/1-). |
| If a purged refrigerant circuit is not going to be
reassembled straight after purging, leave the adapters on the
connections and seal the connections at the adapters using the
sealing caps -VAS 6338/30- (from adapter case VW/Audi passenger
vehicle set -VAS 6338/1-). |
| Depending on the type of air conditioner compressor and the
period of production, different joining and sealing techniques
have been applied in the refrigerant circuit
→ Heating, air conditioning. |
|
|
|
| Block or threaded connections |
|
|
|
| Block connections with various types of seals |
| Block connection with radial sealing connection
-A- (with guide made from plastic
or metal -B-) |
| – |
Block connection with axial sealing connection
-C- |
|
|
|
| Vehicle |
Adapters required for
refrigerant pipes to air conditioner compressor |
Adapters required for
refrigerant pipes to receiver |
Miscellaneous |
| Fox 2005 ► |
| Low-pressure side adapter -VAS 6338/12- |
| High-pressure side adapter -VAS 6338/2- |
|
| – |
Remove dryer cartridge and seal receiver. |
| – |
After flushing, install a new dryer cartridge. |
|
| – |
Install adapter -VAS 6338/34- in place of expansion valve
(or a drilled out expansion valve
→ Anchor) |
| – |
After purging, install a new expansion valve. |
|
| Vehicle |
Adapters required for
refrigerant pipes to air conditioner compressor |
Adapters required for
refrigerant pipes to receiver |
Miscellaneous |
| Lupo 1999 ► up to vehicle
identification number 70000 |
| Low-pressure side adapter -VAS 6338/12- |
| High-pressure side adapter -VAS 6338/2- |
|
| – |
Remove receiver and bridge refrigerant pipes. |
| – |
After flushing, install a new receiver. |
|
| – |
Install adapter -VAS 6338/19- in place of expansion valve
(or drilled out expansion valve e.g. 6N0 820 679 C
→ Anchor) |
| – |
After purging, install a new expansion valve. |
|
| Lupo 1999 ► from vehicle
identification number 70001 |
| Low-pressure side adapter -VAS 6338/12- |
| High-pressure side adapter -VAS 6338/2- or |
|
Receiver
| – |
Can be flushed through. |
| – |
After flushing, install a new receiver. |
|
| – |
Install adapter -VAS 6338/19- in place of expansion valve
(or drilled out expansion valve e.g. 6N0 820 679 C
→ Anchor) |
| – |
After purging, install a new expansion valve. |
|
| Vehicle |
Adapters required for
refrigerant pipes to air conditioner compressor |
Adapters required for
refrigerant pipes to receiver |
Miscellaneous |
| up! 2012 ►; e-up! 2014 ► |
| Low-pressure side adapter -VAS 6338/12- |
| High-pressure side adapter -VAS 6338/3- |
| Purging electrical air conditioner compressor, adapter -VAS
6338/40- and Adapter -VAS 6338/41-, Observe notes:
→ Chapter |
|
Receiver
| – |
Can be flushed through. |
| – |
After flushing, install a new receiver. |
|
| – |
Replace expansion valve with adapter -VAS 6338/36- oradapter
-VAS 6338/34- (or drilled-out expansion valve e.g. 1S0 820 078
→ Anchor). |
| – |
After purging, install a new expansion valve. |
|
| Vehicle |
Adapters required for
refrigerant pipes to air conditioner compressor |
Adapters required for
refrigerant pipes to receiver |
Miscellaneous |
| Polo 1995 ► up to vehicle
identification number 50000 |
Adapter -VAS 6338/14- |
| – |
Remove receiver and bridge refrigerant pipes. |
| – |
After flushing, install a new receiver. |
|
| – |
Install adapter -VAS 6338/19- in place of expansion valve
(or drilled out expansion valve e.g. 6N0 820 679 C
→ Anchor) |
| – |
After purging, install a new expansion valve. |
|
| Polo 1995 ► from vehicle
identification number 50001 |
| Low-pressure side adapter -VAS 6338/7- |
| High-pressure side adapter -VAS 6338/2- |
|
Receiver
| – |
Can be flushed through. |
| – |
After flushing, install a new receiver. |
|
| – |
Install adapter -VAS 6338/19- in place of expansion valve
(or drilled out expansion valve e.g. 6N0 820 679 C
→ Anchor) |
| – |
After purging, install a new expansion valve. |
|
| Vehicle |
Adapters required for
refrigerant pipes to air conditioner compressor |
Adapters required for
refrigerant pipes to receiver |
Miscellaneous |
| Polo 2002 ► |
| Low-pressure side adapter -VAS 6338/12- |
| High-pressure side adapter -VAS 6338/2- |
|
| – |
Remove dryer cartridge and seal receiver. |
| – |
After flushing, install a new dryer cartridge. |
|
| – |
Install adapter -VAS 6338/33- in place of expansion valve
(or a drilled out expansion valve
→ Anchor) |
| – |
After purging, install a new expansion valve. |
|
| Caddy 1996; Caddy 2004; Caddy 2011 |
|
|
|
| Vehicle |
Adapters required for
refrigerant pipes to air conditioner compressor |
Adapters required for
refrigerant pipes to receiver |
Miscellaneous |
| Caddy 1996 ► |
| Low-pressure side adapter -VAS 6338/4- |
| High-pressure side adapter -VAS 6338/2- or adapter -VAS
6338/14- |
|
| – |
Remove receiver and bridge refrigerant pipes. |
| – |
After flushing, install a new receiver. |
|
| – |
Install adapter -VAS 6338/19- in place of expansion valve
(or drilled out expansion valve e.g. 6N0 820 679 C
→ Anchor) |
| – |
After purging, install a new expansion valve. |
|
| Caddy 2004 ►; Caddy 2011 ► |
| Sanden / Denso air conditioner compressor |
| Low-pressure side adapter -VAS 6338/12- |
| High-pressure side adapter -VAS 6338/3- |
| 7H0 820 803 D air conditioner compressor |
| Low-pressure side adapter -VAS 6338/7- |
| High-pressure side adapter -VAS 6338/2- |
|
Receiver
| – |
Can be flushed through. |
| – |
After flushing, install a new receiver. |
|
| – |
Install adapter -VAS 6338/18- in place of expansion valve
(or a drilled out expansion valve
→ Anchor) |
| – |
After purging, install a new expansion valve. |
|
| Polo 2010; Polo KH IN 2010; Polo KH IN 2015; Polo Lim IN
2011; Polo Lim In 2016; Polo Lim RUS 2011; Polo Lim RUS 2016;
Polo KH MY 2014; Polo KH MY 2015; Polo Lim MY 2014; Polo Lim MY
2016; Polo 2014 |
|
|
|
| Vehicle |
Adapters required for
refrigerant pipes to air conditioner compressor |
Adapters required for
refrigerant pipes to receiver |
Miscellaneous |
| Polo 2010 ►; Polo KH IN 2010 ►;
Polo KH IN 2015 ►; Polo Lim IN 2011 ►; Polo Lim IN 2016 ►; Polo Lim RUS
2011 ►; Polo Lim RUS 2016 ►; Polo KH MY 2014 ►; Polo KH MY 2015 ►; Polo
Lim MY 2014 ►; Polo Lim MY 2016 ►; Polo 2014 ► |
| Low-pressure side adapter -VAS 6338/12- |
| High-pressure side adapter -VAS 6338/3- |
| For air conditioner compressors 6Q0 820 808 F and 6Q0 820
808 G on high pressure side adapter -VAS 6338/2- |
|
| – |
Remove dryer cartridge and seal receiver. |
| – |
After flushing, install a new dryer cartridge. |
|
| – |
Install adapter -VAS 6338/34- in place of expansion valve
(or a drilled out expansion valve
→ Anchor) |
| – |
After purging, install a new expansion valve. |
|
| Golf 1992; Vento 1992; Passat 1994 |
|
|
|
| Vehicle |
Adapters required for
refrigerant pipes to air conditioner compressor |
Adapters required for
refrigerant pipes to receiver |
Miscellaneous |
| Golf 1992 ►, Vento 1992 ►,
Passat 1994 ► |
Adapter -VAS 6338/14- |
| – |
Remove receiver and bridge refrigerant pipes. |
| – |
After flushing, install a new receiver. |
|
| – |
Install adapter -VAS 6338/19- in place of expansion valve
(or drilled out expansion valve e.g. 6N0 820 679 C
→ Anchor) |
| – |
After purging, install a new expansion valve. |
|
| Touran 2003; Golf 2004; Golf Plus 2005; Golf Plus 2009;
Jetta 2005; Eos 2006; Golf Variant 2007; Tiguan 2008; Scirocco
2009; Scirocco 2015; Golf 2009; Golf Variant 2010; Jetta 2011;
Golf Cabrio 2012; NMS 2012; Beetle 2012; Golf 2013 |
|
|
|
| Vehicle |
Adapters required for
refrigerant pipes to air conditioner compressor |
Adapters required for
refrigerant pipes to receiver |
Miscellaneous |
| Touran 2003 ►; Golf 2004 ►;
Golf Plus 2005 ►; Golf Plus 2009 ►; Jetta 2005 ►; Eos 2006 ►; Golf
Variant 2007 ►; Tiguan 2008 ►; Scirocco 2009 ►; Scirocco 2015 ►; Golf
2009 ►; Golf Variant 2010 ►; Jetta 2011 ►; Golf Cabrio 2012 ►; NMS 2012
►Beetle 2012 ► |
| Low-pressure side adapter -VAS 6338/12- |
| High-pressure side adapter -VAS 6338/3- |
|
There are two versions of the
fluid receiver: See vehicle specific repair manual.
| Fluid receiver with permanently fitted dryer |
| – |
Can be flushed through. |
| – |
After flushing, install a new receiver. |
| Receiver with desiccant bag or cartridge |
| – |
Remove desiccant bag/cartridge and seal fluid receiver. |
| – |
After purging, install a new desiccant bag/cartridge. |
|
| – |
Install adapter -VAS 6338/18- in place of expansion valve
(or a drilled out expansion valve
→ Anchor) |
| – |
After purging, install a new expansion valve. |
|
| Golf 2013; Golf Estate 2014; Golf 2014 (NAR); Golf SV 2015 |
|
|
|
| Vehicle |
Adapters required for
refrigerant pipes to air conditioner compressor |
Adapters required for
refrigerant pipes to receiver |
Miscellaneous |
| Golf 2013 ►; Golf Estate 2014
►; Golf 2014 (NAR) ►; Golf SV 2015 ► |
| Low-pressure side adapter -VAS 6338/12- |
| High-pressure side adapter -VAS 6338/3- |
|
| – |
Remove desiccant bag/cartridge and seal fluid receiver. |
| – |
After purging, install a new desiccant bag/cartridge. |
| – |
If a Showa condenser is fitted, leave the receiver fitted
and purge the refrigerant circuit. |
| – |
After flushing, install a new receiver. |
|
| – |
Install adapter -VAS 6338/38- in place of expansion valve
(or a drilled out expansion valve
→ Anchor) |
| – |
After purging, install a new expansion valve. |
|
| Golf 1998; Golf Variant 1998; Vento 1999; New Beetle 1999;
New Beetle Cabrio 2003; Bora 1999 |
|
|
|
| Golf 1998 ►, Golf
Variant 1998 ►, Vento 1999 ►, New Beetle 1999 ►, New Beetle Cabrio 2003
►, Bora 1999 ► |
| Low-pressure side adapter -VAS 6338/7- |
| High-pressure side adapter -VAS 6338/2- |
|
| – |
Remove receiver and bridge refrigerant pipes. |
| – |
Connect two adapters -VAS 6338/2- with hose -VAS 6338/31-
together. |
| – |
After flushing, install a new receiver. |
|
| – |
Install adapter -VAS 6338/19- in place of expansion valve
(or a drilled out expansion valve
→ Anchor) |
| – |
After purging, install a new expansion valve. |
|
| Vehicle |
Adapters required for
refrigerant pipes to air conditioner compressor |
Adapters required for
refrigerant pipes to receiver/reservoir |
Miscellaneous |
| Phaeton 2003 ► |
| Low-pressure side adapter -VAS 6338/12- |
| High-pressure side, 12, 8 and 6-cyl. petrol engines: adapter
-VAS 6338/2-. High-pressure side, 10 and 6-cyl. diesel engines:
adapter -VAS 6338/3- |
|
| – |
Remove reservoir (dryer), and bridge refrigerant pipes. |
| – |
Join two adapters -VAS 6338/6- and connect to hose -VAS
6338/31-. |
| – |
After flushing, install a new reservoir. |
|
| – |
Restrictor removed and refrigerant pipe reconnected. |
| – |
After flushing, install a new restrictor. |
|
| Vehicle |
Adapters required for
refrigerant pipes to air conditioner compressor |
Adapters required for
refrigerant pipes to receiver/reservoir |
Miscellaneous |
| Passat 1997 ► up to
September 2000 |
| Low-pressure side adapter -VAS 6338/12- |
| High-pressure side adapter -VAS 6338/2- |
|
There are two versions of
the reservoir.
| – |
Remove reservoir and bridge refrigerant pipes. |
| – |
Connect adapter -VAS 6338/9- and adapter -VAG 1785/8- or
adapter -VAS 6338/10- to hose -VAS 6338/31-. |
| – |
After flushing, install a new reservoir. |
|
| – |
Restrictor removed and refrigerant line reconnected. |
| – |
After flushing, install a new restrictor. |
|
| Passat 1997 ► from October 2000 |
| Low-pressure side adapter -VAS 6338/12- |
| High-pressure side adapter -VAS 6338/2- |
|
| – |
Remove reservoir and bridge refrigerant pipes. |
| – |
Connect two adapters -VAS 6338/10- with hose -VAS 6338/31-
together. |
| – |
After flushing, install a new reservoir. |
|
| – |
Restrictor removed and refrigerant line reconnected. |
| – |
After flushing, install a new restrictor. |
|
| Passat 2006; Passat CC 2009; CC 2010; Passat 2011; CC FL |
|
|
|
| Vehicle |
Adapters required for
refrigerant pipes to air conditioner compressor |
Adapters required for
refrigerant pipes to receiver/reservoir |
Miscellaneous |
| Passat 2006 ►, Passat CC 2009
►, CC 2010 ►, Passat 2011 ►, CC FL ► |
| Low-pressure side adapter -VAS 6338/12- |
| High-pressure side adapter -VAS 6338/3- |
|
| – |
Remove dryer cartridge and seal receiver. |
| – |
After flushing, install a new dryer cartridge. |
| – |
If a Showa condenser is fitted, leave the receiver fitted
and purge the refrigerant circuit. |
| – |
After flushing, install a new receiver. |
|
| – |
Install adapter -VAS 6338/18- in place of expansion valve
(or a drilled out expansion valve
→ Anchor) |
| – |
After purging, install a new expansion valve. |
|
| Passat 2015; Passat Estate 2015 |
Note
| In the Passat 2015 and Passat Estate 2015 with BiTurbo
engine, the refrigerant circuit is not flushed. In these
vehicles, it would require too much effort to remove the
expansion valve. If the air conditioner compressor is defective,
check whether filings have entered the condenser or whether
there are filings at the condenser outlet. If there are only
filings on the inlet side but not on the outlet side, renew only
the condenser and the air conditioner compressor. |
|
|
|
| Vehicle |
Adapters required for
refrigerant pipes to air conditioner compressor |
Adapters required for
refrigerant pipes to receiver |
Miscellaneous |
| Passat 2015 ►; Passat Estate
2015 ► |
| Low-pressure side adapter -VAS 6338/12- |
| High-pressure side adapter -VAS 6338/3- |
|
| – |
Remove desiccant bag/cartridge and seal fluid receiver. |
| – |
After purging, install a new desiccant bag/cartridge. |
|
| – |
Install adapter -VAS 6338/18- in place of expansion valve
(or a drilled out expansion valve
→ Anchor) |
| – |
After purging, install a new expansion valve. |
|
Note
| On vehicles with a 2nd evaporator (Sharan), the front and
rear refrigerant circuit must be rinsed separately. The front
refrigerant circuit must be sealed with adapter -V.A.G 1785/1-,
adapter -1785/3- and sealing caps -VAS 6338/30-. |
|
|
|
| Vehicle |
Adapters required for
refrigerant pipes to air conditioner compressor |
Adapters required for
refrigerant pipes to receiver and 2nd evaporator |
Miscellaneous |
| Sharan 1996 ► up to May
2000 |
| Low-pressure side adapter -VAS 6338/7- |
| High-pressure side adapter -VAS 6338/2- |
|
| – |
Remove receiver and connect refrigerant pipes to adapter
-VAS 6338/37-. |
| – |
After purging, install a new receiver (dryer). |
| Low-pressure line for second evaporator adapter -V.A.G
1785/7- |
| High-pressure line for second evaporator adapter -V.A.G
1785/5- |
| Adapter -V.A.G 1785/3- with sealing cap -VAS 6338/30- to
seal front refrigerant circuit. |
| Adapter -V.A.G 1785/1- with sealing cap -VAS 6338/30- to
seal front refrigerant circuit. |
|
| – |
Install adapter -VAS 6338/35- in place of front and rear
expansion valves (or a drilled out expansion valve
→ Anchor) |
| – |
After purging, install a new expansion valve. |
|
| Sharan 1996 ► from June 2000
|
| Low-pressure side adapter -VAS 6338/7- |
| High-pressure side adapter -VAS 6338/2- |
|
| – |
Remove dryer cartridge and seal receiver. |
| – |
After flushing, install a new dryer cartridge. |
| Low-pressure line for second evaporator adapter -V.A.G
1785/7- |
| High-pressure line for second evaporator adapter -V.A.G
1785/5- |
| Adapter -V.A.G 1785/3- with sealing cap -VAS 6338/30- to
seal front refrigerant circuit. |
| Adapter -V.A.G 1785/1- with sealing cap -VAS 6338/30- to
seal front refrigerant circuit. |
|
| – |
Install adapter -VAS 6338/35- in place of front and rear
expansion valves (or a drilled out expansion valve
→ Anchor) |
| – |
After purging, install a new expansion valve. |
|
Note
| On vehicles with a 2nd evaporator (Sharan), the front and
rear refrigerant circuit must be rinsed separately. The front
refrigerant circuit must be sealed with adapter -V.A.G 1785/1-,
adapter -1785/3- and sealing caps -VAS 6338/30-. |
|
|
|
| Vehicle |
Adapters required for
refrigerant pipes to air conditioner compressor |
Adapters required for
refrigerant pipes to receiver and 2nd evaporator |
Miscellaneous |
| Sharan 2011 ►; Sharan 2016 ► |
| Low-pressure side adapter -VAS 6338/12- |
| High-pressure side adapter -VAS 6338/3- |
|
| – |
Remove dryer cartridge and seal receiver. |
| – |
After flushing, install a new dryer cartridge. |
| Low-pressure line for second evaporator adapter -VAS 6338/3- |
| High-pressure line for 2nd evaporator adapter -VAS 6338/4- |
| The refrigerant lines to the second evaporator must be
loosened sufficiently so that the adapter can be fitted without
deforming the refrigerant lines. |
| Sealing adapter -VAS 6338/5- for front refrigerant circuit. |
| Sealing adapter -VAS 6338/11- for front refrigerant circuit. |
|
| – |
Install adapter -VAS 6338/18- in place of front expansion
valve (or a drilled out expansion valve
→ Anchor) |
| – |
Install adapter -VAS 6338/33- in place of rear expansion
valve (or a drilled out expansion valve
→ Anchor) |
| – |
After purging, install a new expansion valve. |
|
| Touareg 2003; Touareg 2010; Touareg 2015; Touareg Hybrid
2010 |
Note
| On vehicles with a second evaporator (Touareg), the front
and rear refrigerant circuit must be purged separately. The
front refrigerant circuit must be sealed with sealing adapter
-VAS 6338/5- and sealing adapter -VAS 6338/11-. |
|
|
|
| Vehicle |
Adapters required for
refrigerant pipes to air conditioner compressor |
Adapters required for
refrigerant pipes to receiver and second evaporator |
Miscellaneous |
| Touareg 2003 ► to vehicle
identification number 50000 |
| Low-pressure side adapter -VAS 6338/12- |
| High-pressure side adapter -VAS 6338/2- |
| Engine code BJN 6.0 l to vehicle identification number 20000
on high-pressure side adapter -VAS 6338/3- |
|
| – |
Remove dryer cartridge and seal receiver. |
| – |
After flushing, install a new dryer cartridge. |
| Low-pressure line for second evaporator adapter -VAS 6338/3- |
| High-pressure line for second evaporator adapter -VAS
6338/4- |
| Sealing adapter -VAS 6338/5- for front refrigerant circuit. |
| Sealing adapter -VAS 6338/11- for front refrigerant circuit. |
|
| – |
Install adapter -VAS 6338/17- in place of front expansion
valve (or a drilled out expansion valve
→ Anchor) |
| – |
After purging, install a new expansion valve. |
| – |
Drill out expansion valve at second evaporator
→ Anchor. |
| – |
After purging, install a new expansion valve. |
|
| Touareg 2003 ► as of vehicle
identification number 50001; Touareg 2010 ►; Touareg 2015; Touareg
Hybrid 2010 ► |
| Low-pressure side adapter -VAS 6338/12- |
| High-pressure side adapter -VAS 6338/2- or adapter -VAS
6338/3- |
| Electrical air conditioner compressor, adapter -VAS 6338/40-
and adapter -VAS 6338/41- |
|
| – |
Remove dryer cartridge and seal receiver. |
| – |
After flushing, install a new dryer cartridge. |
| Low-pressure line for second evaporator adapter -VAS 6338/3- |
| High-pressure line for second evaporator adapter -VAS
6338/4- |
| Sealing adapter -VAS 6338/5- for front refrigerant circuit. |
| Sealing adapter -VAS 6338/11- for front refrigerant circuit. |
|
| – |
Install adapter -VAS 6338/17- or adapter -VAS 6338/33- in
place of front and rear expansion valves (or a drilled out
expansion valve
→ Anchor) |
| – |
After purging, install new expansion valves. |
|
Note
| On vehicles with a second evaporator, the front and rear
refrigerant circuit must be purged separately. The front
refrigerant circuit must be sealed with sealing adapter -VAS
6338/5- and sealing adapter -VAS 6338/11-. |
|
|
|
| Vehicle |
Adapters required for
refrigerant pipes to air conditioner compressor |
Adapters required for
refrigerant pipes to receiver and second evaporator |
Miscellaneous |
| Transporter 1991 ► to
12.1995 |
| Air conditioner compressor 2D0 820 805 B and 701 820 805 Q
adapter -VAS 6338/54- |
| Vehicle with a additional evaporator on the roof, use
adapter -VAS 6338/51- and adapter -VAS 6338/52-. |
|
| If the receiver is attached beneath the condenser, it can be
purged. |
| – |
For other versions, remove reservoir. |
| Adapter -VAS 6338/20- for receiver. |
| Adapter -VAS 6338/29- for receiver. |
| Adapter -VAS 6338/26- with sealing cap -VAS 6338/30- to seal
front refrigerant circuit. |
| Adapter -VAS 6338/27- with sealing cap -VAS 6338/30- to seal
front refrigerant circuit. |
| Adapter -VAS 6338/57- for refrigerant line of second
evaporator. |
| Adapter -VAS 6338/58- for refrigerant line of second
evaporator. |
| – |
After flushing, install a new receiver. |
|
| – |
Install adapter -VAS 6338/55- in place of front and rear
expansion valves (or a drilled out expansion valve
→ Anchor) |
| – |
After purging, install a new expansion valve. |
|
| Transporter 1991 ► from Jan.
1996 |
| Air conditioner compressor 7D0 820 805 E adapter -VAS
6338/53- |
| Air conditioner compressor 7D0 820 805 H low-pressure side
adapter -VAS 6338/7- |
| High-pressure side adapter -VAS 6338/2- |
| Vehicle with a additional evaporator on the roof, use
adapter -VAS 6338/51- and adapter -VAS 6338/52-. |
|
| If the receiver is attached beneath the condenser, it can be
purged. |
| – |
For other versions, remove reservoir. |
| Adapter -VAS 6338/20- for receiver. |
| Adapter -VAS 6338/29- for receiver. |
| Adapter -VAS 6338/26- with sealing cap -VAS 6338/30- to seal
front refrigerant circuit. |
| Adapter -VAS 6338/27- with sealing cap -VAS 6338/30- to seal
front refrigerant circuit. |
| Adapter -VAS 6338/57- for refrigerant line of second
evaporator. |
| Adapter -VAS 6338/58- for refrigerant line of second
evaporator. |
| – |
After flushing, install a new receiver. |
|
| – |
Install adapter -VAS 6338/55- in place of front and rear
expansion valves (or a drilled out expansion valve
→ Anchor) |
| – |
After purging, install a new expansion valve. |
|
Note
| On vehicles with a second evaporator, the front and rear
refrigerant circuit must be purged separately. The front
refrigerant circuit must be sealed with sealing adapter -VAS
6338/5- and sealing adapter -VAS 6338/11-. |
|
|
|
| Vehicle |
Adapters required for
refrigerant pipes to air conditioner compressor |
Adapters required for
refrigerant pipes to receiver and second evaporator |
Miscellaneous |
| Transporter 7H 2004 ► |
| Air conditioner compressor 7H0 820 805 E low-pressure side
adapter -VAS 6338/12-, high-pressure side adapter -VAS 6338/3- |
| Air conditioner compressor 7H0 820 803 C low-pressure side
adapter -VAS 6338/7-, high-pressure side adapter -VAS 6338/2- |
|
| – |
Remove dryer cartridge and seal receiver. |
| – |
After flushing, install a new dryer cartridge. |
| Sealing adapter -VAS 6338/5- for front refrigerant circuit. |
| Sealing adapter -VAS 6338/11- for front refrigerant circuit. |
| Low-pressure line for second evaporator adapter -VAS 6338/3- |
| High-pressure line for second evaporator adapter -VAS
6338/4- |
|
| – |
To vehicle identification number 20000, drill out expansion
valve
→ Anchor |
| – |
From vehicle identification number 20001, install adapter
-VAS 6338/56- in place of front expansion valve |
| – |
After purging, install a new expansion valve. |
| – |
Install adapter -VAS 6338/33- in place of expansion valve on
second evaporator |
| – |
After purging, install a new expansion valve. |
|
| Transporter 7J 2004 ► |
| Air conditioner compressor 7H0 820 805 E low-pressure side
adapter -VAS 6338/12-, high-pressure side adapter -VAS 6338/3- |
| Air conditioner compressor 7H0 820 803 C low-pressure side
adapter -VAS 6338/7-, high-pressure side adapter -VAS 6338/2- |
| Air conditioner compressor 7H0 820 805 D low-pressure side
adapter -VAS 6338/52-, high-pressure side adapter -VAS 6338/51- |
|
| – |
Remove dryer cartridge and seal receiver. |
| – |
After flushing, install a new dryer cartridge. |
| Sealing adapter -VAS 6338/5- for front refrigerant circuit. |
| Sealing adapter -VAS 6338/11- for front refrigerant circuit. |
| Low-pressure line for second evaporator adapter -VAS 6338/3- |
| High-pressure line for second evaporator adapter -VAS
6338/4- |
|
| – |
To vehicle identification number 5000, drill out expansion
valve
→ Anchor |
| – |
From vehicle identification number 5001, install adapter
-VAS 6338/56- in place of front expansion valve |
| – |
After purging, install a new expansion valve. |
| – |
Install adapter -VAS 6338/56- in place of expansion valve on
second evaporator |
| – |
After purging, install a new expansion valve. |
|
| Transporter 2010; Multivan 2010; California 2010; Caravelle
2010; |
Note
| On vehicles with a 2nd evaporator, the front and rear
refrigerant circuit must be rinsed separately. The front
refrigerant circuit must be sealed with sealing adapter -VAS
6338/5- and sealing adapter -VAS 6338/11-. |
|
|
|
| Vehicle |
Adapters required for
refrigerant pipes to air conditioner compressor |
Adapters required for
refrigerant pipes to receiver and 2nd evaporator |
Miscellaneous |
| Transporter 2010 ►, Multivan
2010 ►, California 2010 ►, Caravelle 2010 ► |
| Low-pressure side adapter -VAS 6338/12- |
| High-pressure side adapter -VAS 6338/3- |
|
| – |
Remove dryer cartridge and seal receiver. |
| – |
After flushing, install a new dryer cartridge. |
| Sealing adapter -VAS 6338/5- for front refrigerant circuit. |
| Sealing adapter -VAS 6338/11- for front refrigerant circuit. |
| Low-pressure line for second evaporator adapter -VAS 6338/3- |
| High-pressure line for second evaporator adapter -VAS
6338/4- |
|
| – |
Install adapter -VAS 6338/56- in place of expansion valve
(or a drilled out expansion valve
→ Anchor) |
| – |
Remove and drill open expansion valve for rear evaporator
→ Anchor. |
| – |
After purging, install a new expansion valve. |
|
| Crafter 2006; LT 2 as of 1997 |
Note
| On vehicles with a 2nd evaporator, the front and rear
refrigerant circuit must be rinsed separately. The front
refrigerant circuit must be sealed with sealing adapter -VAS
6338/5- and sealing adapter -VAS 6338/11-. |
|
|
|
| Vehicle |
Adapters required for
refrigerant pipes to air conditioner compressor |
Adapters required for
refrigerant pipes to receiver and 2nd evaporator |
Miscellaneous |
| Crafter 2006 ► |
| Air conditioner compressor 2E0 820 803 A low-pressure side
adapter -VAS 6338/12-, high-pressure side adapter -VAS 6338/3- |
| Air conditioner compressor 2E0 820 805 low-pressure side
adapter -VAS 6338/7-, high-pressure side adapter -VAS 6338/3- |
|
Receiver
| – |
Can be flushed through. |
| – |
After flushing, install a new receiver. |
| Sealing adapter -VAS 6338/5- for front refrigerant circuit. |
| Sealing adapter -VAS 6338/11- for front refrigerant circuit. |
| Low-pressure line for second evaporator adapter -VAS 6338/3- |
| High-pressure line for second evaporator adapter -VAS
6338/4- |
|
| – |
Drill out expansion valve
→ Anchor |
| – |
After purging, install a new expansion valve. |
|
| LT 2 1997 ► |
| Low-pressure side adapter -VAS 6338/7- |
| High-pressure side adapter -VAS 6338/2- |
|
| – |
Remove receiver and bridge refrigerant pipes. |
| – |
Connect two adapters -VAS 6338/29- with hose -VAS 6338/31-
together. |
| – |
After flushing, install a new receiver. |
|
| – |
Install adapter -VAS 6338/56- in place of expansion valve
(or a drilled out expansion valve
→ Anchor) |
| – |
After purging, install a new expansion valve. |
|
| Vehicle |
Adapters required for
refrigerant pipes to air conditioner compressor |
Adapters required for
refrigerant pipes to receiver |
Miscellaneous |
| Amarok 2011 ► |
| Low-pressure side adapter -VAS 6338/12- |
| High-pressure side adapter -VAS 6338/3- |
|
| – |
Remove dryer cartridge and seal receiver. |
| – |
After flushing, install a new dryer cartridge. |
, |
| – |
Install adapter -VAS 6338/33- in place of expansion valve
(or a drilled out expansion valve
→ Anchor) |
|
| Vehicle |
Adapters required for
refrigerant pipes to air conditioner compressor and for air conditioner
compressor itself |
Adapters required for
refrigerant pipes to receiver |
Miscellaneous |
| Golf 2009 blue e-Motion ► |
| Low-pressure side adapter -VAS 6338/12- |
| High-pressure side adapter -VAS 6338/3- |
| Purging electrical air conditioner compressor, adapter -VAS
6338/40- and Adapter -VAS 6338/41-, Observe notes:
→ Chapter |
|
| – |
Remove dryer cartridge and seal receiver. |
| – |
After flushing, install a new dryer cartridge. |
| Shut-off tap -VAS 6338/42- |
|
| – |
Install adapter -VAS 6338/34- in place of expansion valve
(or a drilled out expansion valve
→ Anchor) |
| – |
After purging, install a new expansion valve. |
| – |
Remove refrigerant shut-off valve for high-voltage battery
heat exchanger -N542- and install shut-off tap -VAS 6338/42-. |
| – |
Remove refrigerant shut-off valve for heater and air
conditioner unit -N541- and install shut-off tap -VAS 6338/42-.
Comply with notes
→ Anchor. |
| – |
If no shut-off tap -VAS 6338/42- is available, a voltage of
12 V may be applied to shut-off valves -N541- and -N542- as an
alternative. |
|
| e-Golf 2014 and e-Golf 2014 with heat pump |
|
|
|
| Vehicle |
Adapters required for
refrigerant pipes to air conditioner compressor and for air conditioner
compressor itself |
Adapters required for
refrigerant pipes to receiver |
Miscellaneous |
| e-Golf 2014 ► |
| Low-pressure side adapter -VAS 6338/12- |
| High-pressure side adapter -VAS 6338/3- |
| Purging electrical air conditioner compressor, adapter -VAS
6338/40- and Adapter -VAS 6338/41-, Observe notes:
→ Chapter |
|
| – |
Remove dryer cartridge and seal receiver. |
| – |
After flushing, install a new dryer cartridge. |
|
| – |
Install adapter -VAS 6338/34- in place of expansion valve
(or a drilled out expansion valve
→ Anchor) |
| – |
After purging, install a new expansion valve. |
|
| e-Golf 2014 ► with heat pump
|
| Low-pressure side adapter -VAS 6338/12- |
| High-pressure side adapter -VAS 6338/3- |
| Purging electrical air conditioner compressor, adapter -VAS
6338/40- and Adapter -VAS 6338/41-, Observe notes:
→ Chapter |
|
| – |
Remove reservoir (dryer), and bridge refrigerant pipes. |
| – |
Join two adapters -VAS 6338/6- and connect to hose -VAS
6338/31-. |
| – |
After flushing, install a new reservoir. |
|
| – |
Start “Basic setting” in → Vehicle
diagnostic tester, and start the function “Charge
refrigerant circuit”. |
| This will open the electrical valves in the refrigerant
circuit. |
| Leave vehicle diagnostic tester connected to keep the valves
open. |
|
| Vehicle |
Adapters required for
refrigerant pipes to air conditioner compressor and for air conditioner
compressor itself |
Adapters required for
refrigerant pipes to receiver |
Miscellaneous |
| Golf Hybrid 2014 ► |
| Low-pressure side adapter -VAS 6338/12- |
| High-pressure side adapter -VAS 6338/3- |
| Purging electrical air conditioner compressor, adapter -VAS
6338/40- and Adapter -VAS 6338/41-, Observe notes:
→ Chapter |
|
There are two versions of the
fluid receiver: See vehicle specific repair manual.
| Fluid receiver with permanently fitted dryer |
| – |
Can be flushed through. |
| – |
After flushing, install a new receiver. |
| Receiver with desiccant bag or cartridge |
| – |
Remove desiccant bag/cartridge and seal fluid receiver. |
| – |
After purging, install a new desiccant bag/cartridge. |
|
| Install adapter -VAS 6338/38- in place of expansion valve
(or a drilled out expansion valve
→ Anchor) |
| Replace shut-off valves -N541- and -N542- with two shut-off
taps -VAS 6338/42-. Comply with notes
→ Anchor. |
| Remove restrictor in refrigerant line to heat exchanger for
high-voltage battery, and drill it out (see notes below)
→ Anchor. |
|
Note
| In the Golf Hybrid 2014, the refrigerant circuit is flushed
in 2 cycles. For the first cycle, the adapter for the shut-off
valve -N541- is open, and the adapter for shut-off valve -N542-
is closed. This will cause the refrigerant circuit with the
evaporator in the heater and air conditioning unit to be
flushed. For the second cycle, the adapter for the shut-off
valve -N541- is closed, and the adapter for shut-off valve
-N542- is open. This will cause the refrigerant circuit with the
evaporator in the heat exchanger for high-voltage battery to be
flushed ⇒ Heating, air conditioning; Rep. Gr. 87; Refrigerant
circuit; System overview - refrigerant circuit (repair manual
for the specific vehicle). |
Note
|
|
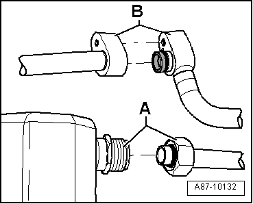
|
| The illustration shows a refrigerant line
-A- with a permanently installed
restrictor -B- (without strainer).
This refrigerant line must be drilled open with a suitable 5 mm
drill bit (remove the restrictor if it is removable), and it
must be cleaned before it is installed in the purging circuit.
Renew the refrigerant line which has been drilled open after
purging has been completed
→ Electronic Parts Catalogue. |
| The diameter of the shown restrictor hole
-B- is approx. 0.7 mm. Depending on
the refrigerant line version, this restrictor is permanently
installed or it can be removed. For the removable version a
strainer may be fitted to prevent the restrictor hole from being
blocked by suspended particles. |
|
|
|
Vehicles with high-voltage system
Observe the additional warning instructions for working on
vehicles with high-voltage system
→ Ele ...
Other materials:
Checking operation of belt buckle
Checking belt buckle
–
Push latch plate into belt buckle until it engages audibly.
Check whether locking mechanism is properly engaged by pulling
firmly on belt webbing.
If latch plate fails ev ...
Removing and installing coolant pipes at heat exchanger (Valeo)
Note
There are different designs and makes of heater and air
conditioning unit. The individual components of the various
heaters and air conditioning units are similar but not identical
(distinguishing features
→ Chapter). The c ...
Removing and installing B-pillar trim on front door
Note
Removal and installation are described only for the left side.
Removal and installation of the right side are similar.
Removing
–
Run door window down to bottom position.
–
Pull window channel -3- in area ...
© 2016-2026 Copyright www.vwgolf.org
