Volkswagen Golf Service & Repair Manual: Restrictor
| The restrictor creates a restriction. This restriction
limits the flow, separating the high-pressure and low-pressure
sides in the refrigerant circuit. Upstream of the restrictor,
the refrigerant is warm due to the high pressure. Downstream of
the restrictor, the refrigerant is cold due to the low pressure.
Upstream of the narrow point is a strainer to catch dirt and
downstream of the narrow point is a strainer to atomise the
refrigerant before it enters the evaporator. |
Note
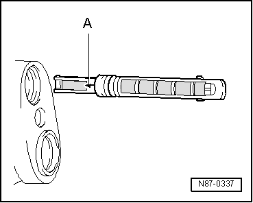
| Arrow -A- on the restrictor
points to the evaporator. |
| Renew it every time the refrigerant circuit is opened. |
| Observe different versions. |
|
|
 |
The reservoir collects the vaporised and gaseous mixture
coming from the evaporator to ensure the air conditioner
compressor receives only gaseous refrigerant. Gaseou ...
The receiver collects the liquid droplets and directs them
in a continuous stream to the expansion valve. Moisture which
has entered the refrigerant circuit during as ...
© 2016-2026 Copyright www.vwgolf.org
