Volkswagen Golf Service & Repair Manual: Installing brackets for parking aid system
| Special tools and workshop equipment
required |
|
|
|
| |
|
Installation tool for PDC bracket -VAS 6614 |
|
|
|
Cartridge gun -VAS 5155- |
| |
2-component plastic adhesive |
|
→ Electronic Parts Catalogue “ETKA” |
| |
Bonding agent for plastics |
|
→ Electronic Parts Catalogue “ETKA” |
|
|
→ Electronic Parts Catalogue “ETKA” |
|
|
→ Electronic Parts Catalogue “ETKA” |
Note
| |
Observe manufacturer's instructions enclosed in the
packaging. |
| |
Observe minimum curing period. |
|
|
|

Note
| The brackets are installed after the bumper cover has been painted. |
| The 4 markings for brackets -1- can be
found on the inside of the bumper cover. |
| – |
If there are no markings, the centre point -2-
must be determined. |
| – |
The holes must be drilled from the inside to the outside with the
drill in the tool kit -3-. |
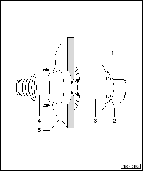
| – |
Set hole punch in position with bolt head -1-,
washer -2- and thrust bearing
-3- from inside bumper cover
-5-. |
| – |
Screw on punch -4-, not quite as far as
bumper cover. |
| – |
Press punch -4- against bumper cover. |
| – |
Tighten hole punch -1-. |

Note
| The punch -4- must not turn on the
paint of the bumper cover. |
| – |
Pull the punch -4- through the material
of the bumper cover -5--arrows- by turning
the bolt head -1-. |
| – |
Remove hole punch and make the next holes. |
| – |
Thoroughly clean bumper cover and bracket with cleaning solution. |

Note
| Approx. 1 cm of adhesive from tip should not be applied. |
| – |
Lightly sand inside of bumper cover -6-
and clean thoroughly. |
| – |
Apply a very thin layer of bonding agent for plastics to bumper
cover and bracket and allow to flash off for 10 minutes. |
| – |
Push bracket -8- onto centring pin
-1- and through bumper cover
-6-. |
| – |
Push counterhold -4- on and gently
tighten knurled nut -5-. |
| – |
Push clip -3- on and then place knurled
nut -2- in position but do not tighten it. |
| – |
All the brackets are prepared to this stage. |

Note
| The adhesive must not run into the angle. |
| – |
Apply adhesive as shown in illustration and tighten knurled nut
-2-. |
| – |
Remove all centring pins after minimum curing period. |
| Do not carry out any further work on bumper cover or
brackets until the minimum curing period of 30 minutes has
expired. |
| In this time, the bumper cover must remain where it is and
should not be moved. |
|
|
|
Volkswagen R GmbH, optional equipment, “R Line” and “R”
Removing
...
Other materials:
Front view
Fig. 2 Overview of the front of the vehicle
Key for :
Sensor or camera window on the mirror
base for:
Rain sensor
Main beam assist (Light Assist)
Lane departure warning system (Lane Assist)
Road sign recognition
Windscreen
W ...
Introduction
This chapter contains information on the following subjects:
→ General information
→ Parking
A camera in the tailgate helps the driver when reversing or manoeuvring the vehicle.
The camera picture and the orientation lines projected by the system are displayed
on the ...
Removing and installing button for deactivating interior monitoring and
vehicle inclination sensor -E616-
Special tools and workshop equipment
required
Removal wedge -3409-
Note
The removal and installation procedures are described for
LHD vehicles. Removal and ins ...
© 2016-2026 Copyright www.vwgolf.org
